Target Exam

CUET

Subject

Physics

Chapter

Semiconductors and Electronic Devices

Question:

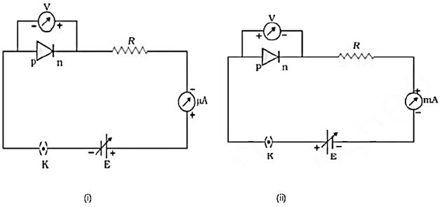
The experimental circuit arrangements for studying V-I characteristics of a p-n junction diode are given below:

Identify the circuit for forward bias and for reverse bias.

Options:

Circuit (i) forward bias circuit (ii) reverse bias

Circuit (i) reverse bias circuit (ii) forward bias

Circuit (i) forward bias circuit (ii) forward bias

Circuit (i) reverse bias circuit (ii) reverse bias

Correct Answer:

Circuit (i) reverse bias circuit (ii) forward bias

Explanation:

The correct answer is Option (2) → Circuit (i) reverse bias circuit (ii) forward bias

Explanation:

  • In circuit (i), the p-side is connected to negative terminal of the battery and n-side is connected to positive terminal. This is reverse biasing. The current is measured in microamperes (μA), which indicates small leakage current typical of reverse bias.
  • In circuit (ii), the p-side is connected to positive terminal and n-side to negative terminal. This is forward biasing. The current is measured in milliamperes (mA), indicating a significant current, as expected in forward bias.